Quick Links

AI
24 Beiträge im Community Space

Sony "AI Ghost": Behavior Cloning und Real-Time-Assistance via Deep Learning

Von TYay0 in AI
vor 3 Monaten (aktualisiert vor 3 Monaten)
Statische Hint-Systeme und YouTube-Walkthroughs könnten bald obsolet sein: Sonys neues Patent für "AI Ghosts" beschreibt ein System, das durch Verhaltensklonierung individuelle Coaching-NPCs generiert, die Steuerung übernimmt oder komplexe Boss-Mechaniken in Echtzeit demonstriert.
Sony "AI Ghost": Behavior Cloning und Real-Time-Assistance via Deep Learning

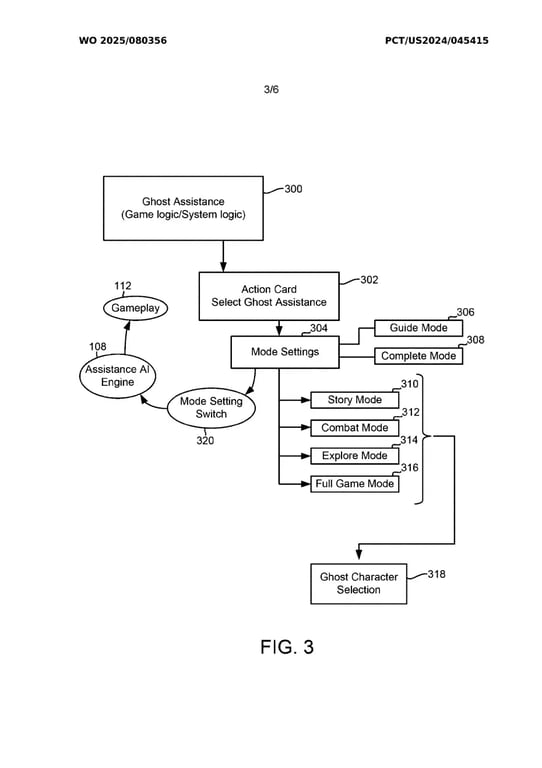
Sony Interactive Entertainment (SIE) hat ein Patent für eine "AI Ghost"-Technologie eingereicht, die weit über bisherige Hilfssysteme hinausgeht. Anstatt voraufgezeichnete Clips abzuspielen, agiert eine generative KI als dynamischer Mentor direkt in der Engine. Durch die Analyse von Millionen von Gameplay-Stunden auf Plattformen wie YouTube und Twitch lernt das System, spezifische In-Game-Herausforderungen zu identifizieren und Lösungen via "Behavior Cloning" (BC) zu simulieren.

Tech-Briefing: Sonys AI-Assistance-Architektur

  • Kerntechnologie: Behavior Cloning (BC) & Reinforcement Learning (RL) basierend auf Multi-Source-Gameplay-Daten.
  • Input-Quellen: Live-Streams, Social Media, YouTube-VODs sowie lokale Player-Biometrie.
  • Interaktions-Modi: Ghost-Overlay (visuelle Hilfe), Demonstration-NPC oder Full-Automation (Control-Takeover).
  • Sensorik: Integration von Eye-Tracking (PS VR2/Camera) zur Detektion von kognitiver Last und "Stickiness"-Punkten.
  • Inferenz: Hybrid-Modell aus lokaler Edge-KI (PS5 Pro/PS6) und Cloud-Backends für großskalige Modell-Updates.

Architektur: Vom Video-Stream zum Control-Input

Das Herzstück des Patents ist die Transformation von unstrukturierten Videodaten in ausführbare Steuerbefehle. Sony nutzt hierfür Techniken des Imitation Learning. Dabei wird ein neuronales Netz darauf trainiert,eine Policy zu erlernen, die den aktuellen Spielzustand auf eine Aktion abbildet:

Indem die KI lernt, wie Top-Spieler in Elden Ring oder Bloodborne auf spezifische Animations-Frames eines Bosses reagieren, kann sie ein "Ghost"-Modell erstellen, das diese Bewegungen im Spiel des Nutzers reproduziert. Das System erkennt dabei über Computer Vision und Metadaten-Scraping, an welcher exakten Position (State) sich der Spieler befindet, und injiziert die entsprechenden Input-Vektoren in die Game-Engine.

 

Sensorik & Kontext: Eye-Tracking als Intent-Detection

Ein entscheidender Unterschied zu bisherigen Lösungen ist die Einbindung biometrischer Daten. Das Patent beschreibt die Nutzung von Eye-Tracking, um festzustellen, worauf der Spieler fokussiert ist.

Wichtig: Bleibt der Blick des Spielers überproportional lange an einem Umgebungsrätsel hängen, ohne dass ein Fortschritt erzielt wird, triggert die KI eine kontextsensitive Hilfe.

Diese "Intent Detection" verhindert, dass die KI ungewollt spoilert oder zu früh eingreift. Die KI agiert hierbei als Beobachter einer Feedback-Schleife, die die emotionale Frustration des Spielers (via Herzfrequenz oder Blickführung) gegen die Schwierigkeit des Spielabschnitts abgleicht.

 

Integration in das PlayStation-Ökosystem

Die "AI Ghosts" sind als Teil einer umfassenderen KI-Strategie zu sehen. In Kombination mit dem ebenfalls patentierten "Bad Actor"-System (Toxizitäts-Erkennung) und der Echtzeit-Inhalt-Zensur (Deepfake-basierte Modifikation von Inhalten für Jugendschutz) positioniert Sony die Konsole als aktiven Mediator zwischen Software und Nutzer.

 

Hardwareseitig deutet dies auf eine massive Skalierung der NPU-Kapazitäten (Neural Processing Unit) in zukünftigen Revisionen oder der PlayStation 6 hin. 

 

Während die PS5 Pro bereits PSSR (PlayStation Spectral Super Resolution) für Upscaling nutzt, erfordern generative Agenten eine deutlich höhere Rechenleistung für die Echtzeit-Inferenz komplexer Verhaltensmodelle.

 

Privatsphäre vs. Algorithmic Hand-holding

Trotz des Nutzens für die Accessibility birgt die Technologie erhebliche Risiken für die Integrität des Spieldesigns:

  • Datenschutz: Das Training auf Nutzerdaten und das permanente Tracking biometrischer Signale setzen ein hohes Maß an Vertrauen in die Datensicherheit von Sony voraus.
  • Künstlerische Vision: Kritiker befürchten, dass die "Algorithmic Assistance" den Lerneffekt und das Belohnungsgefühl (Mastery) untergräbt. Wenn eine KI jede Hürde auf Knopfdruck nivelliert, droht eine Entwertung von Game Design, das auf Trial-and-Error basiert.
  • Vendor-Lock-in: Durch das proprietäre Training auf PSN-Daten erschwert Sony den Wechsel zu anderen Plattformen, da die personalisierten "Coaches" nicht portierbar sind.

Ob die "AI Ghosts" jemals über den Status eines Patents hinauskommen, bleibt abzuwarten. Es zeigt jedoch deutlich, dass Sony die Zukunft des Gaming nicht mehr nur in der Grafik, sondern in der intelligenten Prozessbegleitung sieht.

 

Quelle: boingboing.net

Beitrag erstellt in AI

Echte Infos. Keine Klickschlachten. Deine Gaming-Quelle: BFcom.

Neu hier?

Macht nichts. Melde dich an und diskutiere mit!

Konto erstellen

Willkommen im zentralen Hub für alles rund um Künstliche Intelligenz. Egal, ob du die neuesten Funktionen von Gemini und Claude für den Alltag nutzt, mit Bilderzeugungs-Tools kreativ wirst oder mithilfe von KI deinen Code optimierst – hier bist du richtig. Dieser Space dient dem Austausch über praktische Anwendungsfälle, die besten Prompts, die aktuellsten News aus der Tech-Welt und die ethischen Fragen, die uns alle bewegen.

Filter
© 2009 - 2026 BFcom - Communities für Gaming, Tech & mehr - BFcom